The following images were taken from samples of rocks that occur in the stream running through Villa Luz Cave. The stream is circumneutral and contains dissolved sulfide and sulfate. The rocks are generally located in the dark zone and are covered with a green coating that is at least partly biological. Many midges and midge larvae are found on these green coatings.

SEM image of gypsum with putative bacterial rods on stream rock covered
with a green film, located in darkness. Sampled in April, 1998.
Photo by Spilde, Northup, and Boston.

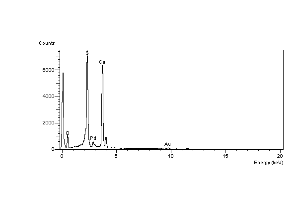
EDS spectrum of gypsum crystals on rock covered with a green film,
located in the stream in an area of darkness. Small Au and Pd peaks are from
the conductive coating applied to the sample before SEM analysis. Sampled in
April, 1998. Analysis by Spilde, Northup, and Boston.

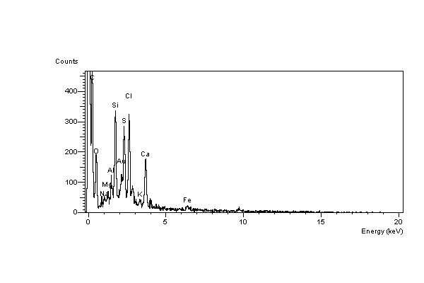
EDS spectrum of areas between crystals on green slime-covered rock in the photo above. These areas appear dark in the backscattered electron images.
Sampled in April, 1998. Analysis by Spilde, Northup, and Boston.

SEM image of a possible decaying algal cell located on rock covered
with green film sampled from the stream, April, 1998. Photo by Spilde,
Northup, and Boston.

SEM image (10,000x) of very small budding structures, located near the center of the previous photo. Possible internal structures of a decaying algal
cell? Located on rock form stream covered
with a green film, located in darkness. Sampled in April, 1998.
Photo by Spilde, Northup, and Boston.